본문 바로가기

임베디드.일렉트로닉스   ( 670 )


Connectivity-WiFi/Bluetooth/USB/NFC/Ethernet WiFi / Bluetooth / USB / NFC / Ethernet WiFi Bluetooth USB NFC Ethernet I2C WiFi - 1.How to WiFi 모듈 Ackme 작동 시험 - http://igotit.tistory.com/243 CC3100, CC3200 개발환경 구축 - http://igotit.tistory.com/295 WICED SDK 설치 - http://igotit.tistory.com/794 Wizard Gecko WiFi SDK 설치 - http://igotit.tistory.com/798 CC3100SDK 설치. - http://igotit.tistory.com/803 CC3100/3200 ServicePack 설치 - http://igotit.tistory... 2018. 10. 26.
와이파이 규격 표현 변경. Wi-Fi 6 : 802.11ax Wi-Fi 5 : 802.11ac Wi-Fi 4 : 802.11n from : https://www.wi-fi.org/discover-wi-fi/wi-fi-6 ///1898 2018. 10. 4.
칩. BCM20702. CYW20702. 블루투스 4.0 트랜시버. 품번 : CYW20702 (BCM20702)- 품번 CYW 는 싸이프레스 사가 브로트컴의 wifi, Bluetooth 사업부 인수 이후 품번 변경된것. Features. ■ Bluetooth 4.0 + EDR and Low Energy compliant ■ Class 1 capable with built-in PA ■ Programmable output power control meets Class 1, Class 2, or Class 3 requirements ■ Use supply voltages up to 5.5V ■ Supports Broadcom SmartAudio™, wide-band speech, SBC codec, and packet loss concealment. ■ Fractional-.. 2018. 9. 13.
nRF Connect. Programmer. 개요. 설치. 개요 nRF Connect programmer- nRF Connect S/W 내에서 실행되는 서브 앱. - nRF5x 칩에 펌웨어 기록 하는 툴 S/W ,- JLink 와 Nordic USB 칩의 메모리 레이아웃을 보여준다. - HEX 파일의 내용 보여준다. - HEX 파일을 칩에 기록가능. 지원보드들. PCA10028 nRF51 Development KitPCA10031 nRF51 DonglePCA10040 nRF52 Development KitPCA10056 nRF52 Development KitPCA10059 nRF52 Dongle 스크린샷. nRF Connect programmer 설치하기. 사전준비.programmer 는 nRF Connect 내의 서브 앱 이므로 사전 nRF Connect 설치.. 2018. 9. 12.
NORDIC. nrfutil. 개요. 설치. DFU (Device Firmware Update) 툴 S/W NORDIC 사의 nrfutil 개요 - DFU(Devie Firmware Updates) , cryptographic 지원하는 커맨드라인 툴 S/W. nrfutil 및 library 에서 제공하는 것들. DFU package generation Cryptographic key generation, management, and storage Bootloader settings generation DFU procedure over any of the following transports: Bluetooth Low Energy Serial over UART Serial over USB Thread unicast Thread multicast Zigbee ANT 제조사 제공 nrfutil 전체 정보. nRF .. 2018. 9. 11.
WiFi. RF 주파수. 본 글 포함된 상위 정리글. Connectivity : http://igotit.tistory.com/280 ///1707 2018. 6. 16.
BLE. RF 주파수, 채널, 용도(Advertising, Data). BLE에서 사용하는 Radio 주파수. 2402MHz ~ 2480MHz 까지 2MHz 폭의 주파수 채널 사용됨. 총 40채널. 주파수 채널별 용도 구분. Advertising 용 : 3개채널 2402MHz (Ch37), 2426MHz(Ch38), 2480MHz(Ch39)- WiFi 2.4GHz 대역의 주파수(Ch1, 6, 11)와의 간섭 최소화 주파수로 선택된것. Data 용 : 상기 Advertising 제외한 37개 채널. - 매번의 BLE connection 마다 주파수 변경(즉, Frequency Hopping)한다. 본 글 포함된 상위 정리글. Connectivity : http://igotit.tistory.com/280 ///1706. 2018. 6. 16.
nRF5. Enhanced ShockBurst 작동시험. 작동시험1. 시험상황. 2개의 타겟보드 nRF52840 DK 에 각각 ESB PTX , ESB PRX 펌웨어 기록하고, ESB PTX 가 연결된 PC의 하이퍼 터미널에서 아무 키입력을 하면 ESB PTX 에서 data[0] 1회 송신하고 data[0] 을 +1 수행. ESB PRX 가 연결된 PC의 하이퍼 터미널에서는 수신된 data[0] 을 표현. ESB (Enhanced ShockBurst) 기본 개념 이해 : https://igotit.tistory.com/1703 작동시험2. 시험상황. 상기 1시험1에서 TX 측의 main while 문내에서 5msec 간격으로 연속 데이터 전송. tx 연결된 하이퍼 터미널에서 아무키나 입력하면 전송중지, 다시 키 입력하면 전송시작. 본 글 포함된 상위 정리글 h.. 2018. 6. 14.
nRF5. Enhanced ShockBurst. 개요. Enhanced ShockBurst (ESB) Nordic사의 ESB는 nRF24 칩 에서부터 도입되었던 것이고, 최신 nRF52 칩 에서도 구현가능하다. FeaturesSupports a star network topology with typically one Primary Receiver (PRX) and up to 8 Primary Transmitters (PTX)1 to 32 bytes dynamic payload length in legacy mode1 to 252 bytes static payload length between nRF5 Series devicesBidirectional data transfer between each PTX and the PRXPacket acknowledgme.. 2018. 6. 14.
nRF52. 2.4GHz radio transceiver nRF52 2.4GHz radio transceiver 특징. • -95 dBm sensitivity in 1 Mbps Bluetooth® low energy (BLE) mode • -103 dBm sensitivity in 125 kbps BLE mode (long range) • +8 dBm TX power (down to -20 dBm in 4 dB steps) • On-air compatible with nRF52, nRF51, nRF24L and nRF24AP Series • Supported data rates: • Bluetooth® 5: 2 Mbps, 1 Mbps, 500 kbps and 125 kbps • IEEE 802.15.4-2006: 250 kbps • Proprietary 2.4.. 2018. 6. 11.
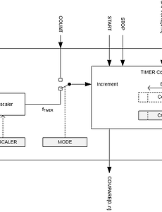
nRF52. Timer 타이머수량. nRF52840 인 경우 5개 : Timer0, Timer1, Timer2, Timer3, Timer4. 타이머 기능블럭. 타이머는 HFCLK (high frequency clock source) 와 4비트 프리스케일러로 구동된다. PCLK1M, PCLK16M - Timer 내부 Prescaler 의 설정값이 1MHz 이하인 경우 자동으로 PCLK1M 이 선택된다. (전력 절감목적) PRESCALER - 10비트폭. /2^n 의 n 값 설정에 해당. 예. 4를 설정하면 /2^4 = /16 START, STOP. START 에 의하여 시작되고, STOP 에서 포즈된다. STOP 이후 다시 START 하면 이전 상태(STOP 시점의 상태)이후 부터 타이머 재개한다. BITMODE timer bi.. 2018. 6. 11.
nRF5. PPI ( Programmable peripheral interconnect ) Programmable Peripheral Interconnect - peripheral 들간의 tasks, events 상호작용이 CPU 개입없이 이뤄지는것. - peripheral 간의 실시간 정밀 동기화 가능. - 하드웨어적으로 event end point(EEP), task end point (TEP) 가 고정된 채널들이 있고 각 채널들은 활성화, 비활성화 가능. - PPI 는 특정 peripheral 의 event 를 다른 peripheral 의 task 로 자동화 된 트리거 기능 제공. - PPI Channel 은 3개의 end point register 로 구성되고 1개는 EEP, 2개는 TEP . - 각각의 PPI Channel 은 16MHz Clock 에 동기 되어있다. from : da.. 2018. 6. 11.
nRF5 SDK. SES. 응용소스들 몰아두기. main.c, sdk_config.h 파일이전. 본글폐기. - 2019년 1월 5일. 아래 내용보다 훨씬 단순명료한 방식으로 프로젝트 생성 관리 방식 정리되었음 상세보기 -> https://igotit.tistory.com/2021 개요.nRF5 SDK 에서 제공되는 예제 프로젝트 폴더 구조 단순화 처리 방법.- SRC 폴더 생성하고, - nRF5 SDK example 에서 기본 제공되는 main.c , sdk_config.h 파일 위치를 사용자 생성한 SRC 로 이전한다. ( 본 폴더 SRC 이후 프로젝트 진행시 사용자생성 응용 소스들 몰아둔다. )- SES 에서 신규폴더 Application/SRC 추가하고, 정리. 동영상1.- SRC 폴더 생성하고, main.c, sdk_config.h 파일 이전. 동영상2. - SES 에서 신규폴더 Applic.. 2018. 6. 10.
nRF5. BLE NUS Server Client Test. BLE NUS Server - Client 통신 시험 타겟보드 : nRF52840-DK 2개 중 1개는 NUS Server, 나머지 1개는 NUS Client 구현하여 통신 시험하였고 해당 통신중인 상태를 아래 동영상에 보이고 있다. 본 글 포함된 상위 정리글 https://igotit.tistory.com/244 의 nRF52 첫등록 : 2018년 6월 8일최종수정 : 본 글 단축주소 : https://igotit.tistory.com/1694 2018. 6. 8.
SEGGER Embedded Studio. include path ///1693 2018. 6. 8.
SEGGER Embedded Studio. 소스파일 추가. 소스 파일명 예 : CentralGAPBLE_SL.c ///1692 2018. 6. 8.
nRF5 SDK 버그. __putchar(int ch, FILE * p_file) 버그내용. nRF5 SDK 에서 배포된 파일중 retarget.c 의 아래 함수 중 붉은 색 부분. int __putchar(int ch, FILE * p_file) { UNUSED_PARAMETER(p_file); UNUSED_VARIABLE(app_uart_put((uint8_t)ch)); return ch; } 해결책. 함수인자를 아래 파랑색 부분처럼 변경. int __putchar(int ch, __printf_tag_ptr p_file){ UNUSED_PARAMETER(p_file); UNUSED_VARIABLE(app_uart_put((uint8_t)ch)); return ch; } 본 글 포함된 상위 정리글 https://igotit.tistory.com/244 의 nRF5 첫등록 : 201.. 2018. 6. 7.
nRF5. 새프로젝트 만들기. nRF5 SDK 기반. 본글폐기. - 2019년 1월 5일. 아래 내용보다 훨씬 단순명료한 방식으로 프로젝트 생성 관리 방식 정리되었음 상세보기 -> https://igotit.tistory.com/2021 신규 프로젝트 명 예: D1F123 - 본 프로젝트는 nRF5 SDK 의 example 로 제공되는 ble_app_multilink_central 을 프로젝트 시작점으로 하는 예. 단계1. 폴더 WORK_MultiNRF5 하위에 신규 폴더 D1F123 생성. 단계2. D1F123 하위에 nRF5 SDK 전체 폴더 복사. 단계3. 상기 단계2의 SDK 중에서 본 프로젝트에서 활용하는것외 삭제. 동영상1.새 프로젝트 만들기 처리. 단계1,2,3. 동영상2 SEGGER Embedded Studio 용 프로젝트 명을 D1F123 .. 2018. 6. 7.


비트코인




            암호화폐/외환/나스닥/골드          
       
현물 |선물 인버스 |선물 USDT , bybit MT5               프랍 트레이딩. MT4,MT5