SSD1683
- 전자종이디스플레이(EPD) 컨트롤러
- On chip display RAM
- - Mono B/W: 400x300 bits
- - Mono Red: 400x300 bits
- Support display partial update
- MCU interface: 4-wire or 3-wire Serial peripheral interface (maximum SPI write speed 20MHz)
- 데이터시트 : https://v4.cecdn.yun300.cn/100001_1909185148/SSD1683.PDF
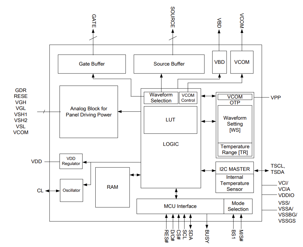
SSD1683 Function Block


VCI: 2.3 to 3.7V
VDD: 1.8V, regulate from VCI supply


연관
GDEY042T81 . e-paper 4.2 인치
GDEY042T81 - 전자 종이 디스플레이 4.2 인치 - 컨트롤러 : SSD1683 - 사이즈 : 91x77x1.2 mm - 화면 사이즈 : 84.8x63.6 mm - 해상도 : 400 x 300 픽셀 구입처 17.6US $ |4.2 Inch E-paper Display Ssd1683 Morochrome Spi E-ink For Digital
igotit.tistory.com
첫 등록 : 2023.09.17
최종 수정 :
단축 주소 : https://igotit.tistory.com/4834
'임베디드.일렉트로닉스' 카테고리의 다른 글
| KEIL MDK ARM . device PACK 설치 방법 (0) | 2023.09.21 |
|---|---|
| STM32L4R7VI . STM32L4+. LQFP100. TFT LCD 컨트롤러 내장 (0) | 2023.09.19 |
| UC8176 . dot matrix controller (1) | 2023.09.17 |
| GDEW042T2 . 전자 종이 디스플레이 4.2 인치 (0) | 2023.09.17 |
| 아날로그 스위치 . (0) | 2023.08.30 |
댓글